Space X公司针对星链(Starlink)此前申请了一份关于可配置OFDM波形及收发机的发明专利,以实现卫星-用户终端-卫星接入网关之间的通信,现已授权。下面我们看看其中涉及的关键技术方案和特征。
一、技术领域
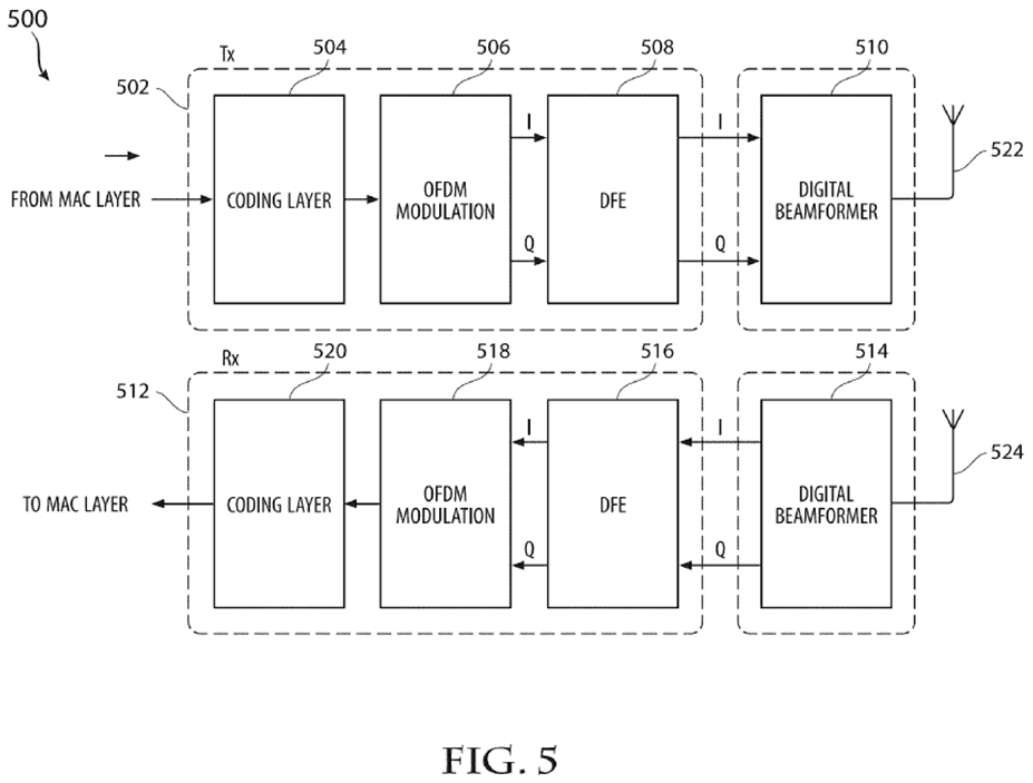
该发明技术领域涉及一种用于调制解调器的新型物理芯片结构,该结构使同一物理芯片能够处理可配置的波形和其他参数,用于卫星、卫星接入网关和用户终端信号的传输和接收。可配置的波形可以适应卫星、卫星接入网关和一个或多个用户终端之间通信的不同特性和纠错需求。

二、背景与问题
传统卫星通信系统中:
- 不同节点(如SAT、UT、SAG)之间通信的信号波形、带宽、调制方式等各不相同;
- 每个节点通常需要专用的调制解调器,增加了系统复杂性和成本;
- 卫星高速运动(如低轨卫星约7.8 km/s)带来显著的多普勒效应、载波频率偏移(CFO)、采样频率偏移(SFO)等问题;
- 多个用户终端同时与卫星通信,需处理多用户接入、时序同步、信号重叠等挑战。
三、Starlink解决方案
为此,Space X公司提出一种可配置的OFDM调制解调器,具备以下特点:
1. 统一的硬件平台
- 同一芯片可用于SAT、UT、SAG等不同节点;
- 支持发射和接收两种模式;
- 集成数字前端、ADC/DAC、数字波束成形接口等。

2. 可配置的波形参数
- 带宽(如62.5 MHz、250 MHz、500 MHz)
- 导频数量与位置
- 信道估计符号数量
- 循环前缀与后缀长度
- 独特字(UW)选择
- 直流零点(DC Null)
- 调制与编码方案等
3. 多用户支持
- 支持多用户上行链路,最多4个用户可在同一无线电帧中复用;
- 每个用户分配独立的资源块、导频和信道估计符号。
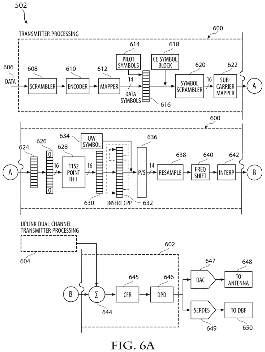
四、OFDM信号结构
每个无线电帧包含:
-
前导部分:
-
独特字(UW):用于突发检测、符号对齐、频率偏移估计;
-
信道估计符号:用于信道探测和均衡器计算;
-
载荷部分:
-
资源块:用户数据;
-
导频子载波:用于相位、幅度、延迟跟踪;
-
导频子带偏移:位于频带边缘,用于线性插值校正延迟;
-
直流零点:避免中心频率干扰。


五、关键技术特征
1. 频率与采样偏移校正
- 使用Farrow滤波器进行采样频率偏移校正;
- 使用复数混频器进行载波频率偏移校正;
- 支持预补偿(发射端) 和后补偿(接收端)。
2. 突发检测与同步
- 使用重复的伪噪声序列作为独特字;
- 支持多用户频率偏移估计;
- 通过相位旋转跟踪估计频率偏移。
3. 导频处理与线性插值
- 使用频带两侧的导频子载波进行线性相位插值;
- 校正残余延迟、相位噪声、频率误差。
4. 数字前端处理
- 集成峰均比降低、数字预失真、增益控制等功能;
- 支持数字波束成形接口。

六、四种实施例
| 实施例 | 通信链路 | 特点 |
|---|---|---|
| 1 | 通用调制解调器 | 适用于所有节点,可配置波形参数 |
| 2 | UT → SAT 上行链路 | 多用户OFDMA,支持1–4用户复用 |
| 3 | SAT → UT 下行链路 | 广播式多用户数据,用户选择性解码 |
| 4 | SAT ↔ SAG 上下行 | 点对点通信,上下行带宽不同 |

当调制解调器部署在卫星中,卫星与用户终端通信时,调制解调器可以配置在220-270 MHz(含)之间的带宽。当调制解调器部署在卫星中并与网关通信时,调制解调器可以配置为 220-270 MHz 之间的带宽(含)。当调制解调器部署在网关中并与卫星通信时,调制解调器可以配置为 480-520 MHz 之间的带宽(含)。当调制解调器部署在用户终端中并与卫星通信时,调制解调器可以配置为60-65 MHz(含)之间的带宽。
七、关于多普勒补偿、相偏和频偏
| 一方面,发射器还可以包括预补偿模块,该预补偿模块对与第一波形或第二波形相关的频率误差和采样时钟误差进行预补偿。当SAT内部配置调制解调器以接收来自SAG的第二波形时,接收机可以解析第二波形中的PHY数据包数据单元(PDU)报头,以获得包含码字的调制和编码方案值和符号数据,还可以对采样频率偏移、载波频率偏移和由于SAT的移动而产生的多普勒效应中的一个或多个进行补偿。 |
|---|
| 当调制解调器在SAG内配置为接收来自SAT的第一波形时,接收机可以解析第一波形中的PHY PDU接头,以获得包含码字的调制和编码方案值和符号数据。 |
|---|
| 一方面,所述第一波形和第二波形均为正交频分复用波形。所述第一波形和第二波形还可以包括配置在所述第三时间段和第三频率下的第一导频子频带偏移量,以及配置在所述第三时间段和第四频率下的第二导频子频段偏移。 |
|---|
| 当调制解调器接收到第一波形或第二波形时,调制解调器可以利用信道估计符号来估计信道,然后使用与第一导频子频带偏移相邻的第一组子载波和与第二导频子频带偏移相邻的第二组子载波在无线电帧的频谱上应用线性相位插值,以校正残余延迟或误差。 |
|---|
| 独特字可以包括一组重复的PN序列,用于跟踪随时间变化的相位变化,以估计要校正的频率偏移。接收器可以包括一个或多个组件,这些组件校正由于 SAT 运动而产生的一个或多个 CFO、SFO 和多普勒效应的第一波形或第二波形。调制解调器还可以包括增益控制组件,用于校正天气对第一波形和第二波形的影响之一,以及作为转向角函数的相位阵损耗。 |
|---|
详细专利内容:
US20250062935 - CONFIGURABLE ORTHOGONAL FREQUENCY DIVISION MULTIPLEXING (OFDM) SIGNAL AND TRANSMITTER AND RECEIVER FOR SATELLITE TO USER TERMINAL DOWNLINK COMMUNICATIONS
评论区
登录后即可参与讨论
立即登录