T2PAK应用笔记重点介绍T2PAK封装的贴装及其热性能的高效利用。内容涵盖以下方面:T2PAK封装详解:全面说明封装结构与关键规格参数;焊接注意事项:阐述实现可靠电气连接的关键焊接注意事项;湿度敏感等级(MSL)要求:明确器件在处理与存储过程中的防潮防护规范;器件贴装指南:提供器件贴装的最佳实践建议。本文为第一篇,将介绍顶部散热封装、T2PAK封装详解。
顶部散热封装
安森美(onsemi)为强化其先进封装的电源产品组合,推出了两款面向汽车与工业高压(HV)应用的顶部散热封装——T2PAK 和 BPAK。这两款封装专为应对严苛工况而设计,与通过印刷电路板(PCB)散热的传统底部散热封装(如 D2PAK 和 TOLL)不同,T2PAK 与 BPAK 采用顶部散热结构,通过直接接触外部散热器实现高效热传导,显著提升散热性能。
其中,T2PAK 凭借顶部散热与无引线设计的双重优势,不仅消除了传统长引线,还构建出比 D2PAK 或 TO 封装更紧凑的电流回路,从而大幅降低杂散电感。这一优化带来了更优异的开关特性、更低的电压过冲以及更出色的电磁兼容性(EMC),使其成为高效率、高密度电源设计的理想选择。
此次技术突破有效提升了功率密度,更好地满足了高性能应用日益增长的需求。安森美首批采用该新型封装的产品包括八款基于 Elite-SiC 平台的碳化硅(SiC)MOSFET。
表1. 安森美T2PAK车规级认证产品

表2. 安森美T2PAK工业级认证产品

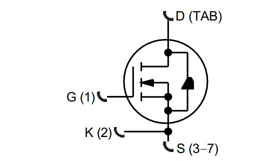
在换流回路设计建议部分中,探讨了T2PAK器件的换流回路设计要点。热性能分析部分则分析了其热性能,这对于确保器件在工作条件下的可靠性至关重要,并在文档结尾进行了总结。附图方面,图1a与图1b分别展示了封装的底部与顶部视图,图2为引脚配置图。其中在图1b中,各引脚定义如下:引脚1为栅极,引脚2为Kelvin引脚,引脚3至7为源极,漏极引脚则标记为D。

a) 底部视图

b) 顶部视图
图1. T2PAK封装视图

图2. SiC MOSFET T2PAK引脚定义
T2PAK封装详解
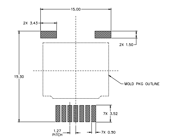
T2PAK封装轮廓详见图3所示。其中,图3a与图3b分别为封装顶视图与侧视图;细节A进一步展示了引脚尺寸,对应侧视图(图3c)、正视图(图3d)与后视图(图3e);底视图见图3f。所有相关尺寸标注于图3g和图3h。封装主体尺寸约为11.80 mm × 14.00 mm × 3.63 mm(D×E×A),含引脚的整体平面尺寸为18.50 mm × 14 mm(H×H1)。

图3. T2PAK封装机械轮廓图
T2PAK与D2PAK(TO-263)均为高功率表面贴装封装,适用于紧凑型PCB布局下的高效热管理。二者电气焊盘占位相似,但热结构设计存在明显区别:D2PAK采用底部散热,依靠外露漏极焊盘将热量传导至PCB铜层,并通过过孔传导至内部或背面的铜层;而T2PAK则通过集成通孔散热引脚实现顶部散热,可直接连接外部散热器或金属外壳。这种设计提供了更高效、可控的散热机制,尤其适合PCB自身散热受限或具备强制风冷的应用场景。
上述结构差异带来了可量化的热性能提升。以32 mΩ器件为例,T2PAK的结壳热阻为0.7 °C/W,优于D2PAK的0.75 °C/W。在12 mΩ这类低阻值、高电流器件中,优势更为明显:T2PAK热阻为0.3 °C/W,而对应D2PAK为0.35 °C/W。这主要得益于T2PAK可将热量直接导向散热器,从而突破PCB的散热瓶颈。因此,该封装尤其适用于对散热要求严苛或需更高热裕量的场合,如汽车功率模块、工业驱动器及高效率DC-DC转换器。
图5所示为T2PAK推荐的PCB焊盘布局。在封装顶视图中,引脚定义如下:右下角为引脚1(栅极),引脚2为开尔文源极(用于驱动参考电位),引脚3至7为源极连接。漏极则通过延伸的大型漏极焊片实现电气连接,该焊片与封装顶部中央的外露漏极焊盘相连,共同构成主散热区域。

图4. 推荐的PCB焊盘布局

图5. 无铅焊料加热曲线
未完待续。
原文标题:T2PAK封装应用笔记:封装结构详解
文章出处:【微信号:onsemi-china,微信公众号:安森美】欢迎添加关注!文章转载请注明出处。
评论区
登录后即可参与讨论
立即登录