智能电网极关键的功能之一是能够整合100%的可再生能源。到2030年,因智能电网的建立可将全球温室气体排放量减少12~18%,对于实现净零排放和支持全球能源转型至关重要。
如今,一些尖端技术正在塑造下一代智能电网:比如量子计算应用,该技术能以指数级速度解决复杂的电网优化问题,同时为复杂能源市场提供建模与分析;高级人工智能和机器学习的应用可在极少的人为干预下实现自主电网的运行,尤其是在预测性维护方面,能提前几个月预测设备故障的人工智能系统正在发挥重要作用;下一代储能系统是现代智能电网平稳、安全运行的重要保障,采用的电池等储能技术,在低需求时储存多余的电力,并在需要时释放,既有助于电网的供需平衡,又可加强与再生能源的整合——这也是本文讨论的重点。
电池储能:未来智能电网的支柱
具体来讲,储能系统在智能电网中的作用主要体现在以下几个方面:
平衡供需:储能系统通过在低需求期储存能量并在高峰时段释放能量,来平衡电力供需。这对于管理太阳能和风能等具有“可变性质”的可再生能源尤为重要。
电网稳定性和可靠性:储能通过在紧急情况下提供快速备用电源、防止停电和保持电网弹性来增强电网稳定性。这包括频率调节和电压调整等服务。
可再生能源的整合:储能系统通过储存在有利条件下(例如,当阳光明媚或风力强劲时)产生的多余能量,支持可再生能源的有效整合,以便在这些能源不积极发电时使用。
需求响应和削峰:储能通过在高峰时段提供电力,减轻电网压力;同时,通过削峰和分时电价策略降低能源费用,有助于平衡电力供需关系。
经济效益:通过优化能源使用、推迟基础设施升级和减少对峰值发电厂的依赖,储能系统提供了显著的经济优势。
总之,储能对于维持电网稳定、支持可再生能源的整合以及提高智能电网系统的经济效率至关重要。据Globenewswire的分析数据,离网储能系统市场正在经历显著增长,预计到2029年将从2024年的98.3亿美元扩大到183.1亿美元,复合年增长率为13.4%。
在现代电网的发展中,各种类型的储能系统正成为智能电网中重要的组成部分。这些系统包括:为电网稳定提供快速响应的电池储能系统(BESS),可提供大规模、长时间储能的抽水蓄能,在地下洞穴中储存能量的压缩空气储能,以及使用电动汽车电池作为分布式存储的车联网(V2G)系统等。
由于风能和太阳能等可再生能源的供应极易受到天气、昼夜周期和季节变化的影响,随着全球能源转型的加速,电池储能系统(BESS)在现代智能电网中的作用日益凸显,智能电网依靠它们来平衡和稳定负载。也可以说,可再生能源与电网的整合在很大程度上依赖于BESS。
数据管理是智能电网高效运营的核心。通过数据的收集、分析和管理,BESS能实时监测电网流量、电池状态和系统性能,电力运营商借助这些数据可做出精确的决策。随着能源互联网(IoE)和能源转型的进一步发展,数据管理将继续在提高BESS运营的效率和可靠性方面发挥重要作用,为智能电网的未来奠定坚实的基础。
电池储能系统的设计挑战与对策
与电池储能系统(BESS)相关的设计挑战主要体现在三个方面:
安全使用:在BESS的整个生命周期内均需保持电池的安全性。锂离子(Li-ion)电池具有卓越的能量密度和更长的循环寿命,在BESS应用中,锂离子电池的使用率较高。但是锂离子电池容易冒烟、起火或爆炸,因此,针对电池的电压、温度、电流数据监测和保护变得非常重要。
准确监测电池电压、温度和电流:准确的电池数据可确保安全并更大限度地提高能量。LiFePO4的充放电曲线区域宽且平坦,微小的电池电压测量误差可能会导致巨大的剩余容量误差,因此精准的电池电压和电池组电流测量对于准确的充电状态估计非常重要。现实中大多数电池火灾和爆炸事故都是由电池热失控引起的,温度监测也是BESS实际应用中的重要考量。
电池组之间能量的不平衡:由于负载变化,电池组可能会以不同的速率消耗电流。这些变化导致电池组剩余能量之间的不平衡,降低了整个BESS的主要可用能量。如果没有强大的电池组级平衡电路,会大大缩短电池的寿命。
电池包是构成BESS的基本模块,电池包由串联和并联的电池电芯组成,电芯通道数量从12到64不等。由于电池电芯需要适当的工作和贮存温度以及电压和电流范围,以确保生命周期和安全,因此,在电池包级别监测并保护电池电芯是非常必要的措施。
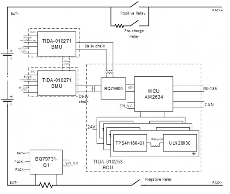
电池管理单元(BMU)是一种控制器,用于在整个生命周期内监控电池包中每个电池电芯的电压和温度,它收集的信息将传输到机架级控制器电池控制单元(BCU),以进行安全和充电管理。
TIDA-010271是由Texas Instruments提供的面向储能系统的可堆叠BMU参考设计,该设计可监控每个电芯的电压和电芯温度,并保护电池包以确保其安全使用。设计方案使用两个BQ79616器件(电池监测器、平衡器和集成硬件保护器)来监测每个电芯的电压和32芯电池包的温度,并在电芯过压、电芯欠压和过热等情况下保护电池包。此外,还有四个具有 8:1 GPIO扩展比的TMUX1308器件用于测量多达32个电芯的温度,以及一个用于串行外设接口(SPI)扩展的TMUX1574器件,以在外部电可擦除可编程只读存储器(EEPROM)中恢复电池包信息。
电池控制单元(BCU)是一种安装在电池包中以管理电池电能的控制器,可确保整个电池系统的安全。目前,出于安全和成本方面的考虑,BESS中使用的电池以磷酸铁锂(LiFePO4)电池为主。Texas Instruments的储能系统BCU参考设计TIDA-010253是一款适用于高压锂离子 (Li-ion)、磷酸铁锂(LiFePO4)电池包的中央控制器。该设计使用TMDSCNCD263作为通用MCU来运行和测试所有功能,包括电源轨监控器、唤醒、继电器开关、看门狗(WTD)、实时时钟(RTC)、湿度传感器、隔离式CAN、隔离式RS-485、以太网和菊花链通信。BCU的额定电压为24V,范围为18V~32V。24V电源可由交流/直流模块或直流/直流模块提供,功率小至70W。

TI适用于电池储能系统的BMU和BCU参考设计(图源:Texas Instruments)
本文小结
随着全球人口的增长,到2050年,全球发电量预计将翻一番以上。通过智能电表和储能等技术,智能电网对于确保高效稳定的可再生能源供应至关重要。
当前,能源革命转变的核心在于两个改变游戏规则的因素——即智能电网技术和智能电池存储技术。这些创新将重新定义我们发电、配电和用电的方式。智能电池系统具有模块化和可扩展的架构,可使运营商能够轻松地扩大或缩小规模,以满足不同电网应用和位置的特定需求。随着世界向可持续能源的过渡,智能电网在融合太阳能、风能和地热等多种可再生能源方面发挥着越来越大的作用。
然而,任何事情都有其两面性,电池储能系统(BESS)虽然对于平衡可再生能源发电的间歇性以及确保可靠的电力供应至关重要,但它的使用安全性一直备受关注。在设计中,选择一组高效且成本合理的电池管理单元(BMU)和电池控制单元(BCU)是智能电网稳定、可靠、安全运行的关键。
原文标题:电池储能:作为智能电网的支柱,我们该如何夯实它的技术基石?
文章出处:【微信号:贸泽电子,微信公众号:贸泽电子】欢迎添加关注!文章转载请注明出处。
评论区
登录后即可参与讨论
立即登录